視聴中の便利な機能
画面を静止させる
- 視聴中にリモコンの[静止]ボタンを押すと、映像を静止できます。もう一度[静止]ボタンを押すと、視聴中のチャンネルの現在の映像に戻ります。
次の場合は、静止画が解除されます。
- 録画予約が実行されたとき
- 選局や入力切換の操作をしたとき
- [ホーム(メニュー)]ボタン/[ツール]ボタン/[ファミリンク]ボタンを押したとき
- 映像を静止してから30分経過したとき
静止画表示中は、次のことができません。
- 画面サイズの切り換え
- AVポジションの切り換え
- スマホスクリーンの切り換え
- 番組表、番組情報の表示
テレビ画面に大きく時計を表示する
- 外部入力、放送、録画済み番組の視聴中にリモコンの[時計]ボタンを押すと、画面に大きく時計が表示されます。もう一度[時計]ボタンを押すと、時計表示が終了します。
- 時計設定の「時計タイプ」により、デジタル時計とアナログ時計を選択できます。
- スマホスクリーン表示中は、テレビ画面に大きく時計を表示することはできません。
メニュー画面にキャラクターを表示する
- 時刻表示やホームメニューなどの画面に、キャラクターを表示します。
- ホームメニューから「設定」-「
(機能切換)」-「画面表示設定」-「キャラクター」で設定します。
|
機能 |
説明 |
|
する |
|
|
しない |
|
- 「キャラクター」を「する」にしているとき、キャラクターが時刻表示やホームメニューなどに表示されます。
- キャラクターは動くことがあります。
- 表示されるキャラクターは、時刻や表示箇所によってランダムに変わることがあります。
音声・映像・字幕を切り換える
- 複数の映像(最大4つ)または音声(最大8つ)がある番組をご覧のとき、映像および音声を切り換えて楽しめます。
- 字幕のある番組をご覧のとき、字幕を表示できます。複数の字幕がある番組の場合は、字幕を切り換えて楽しめます。

複数の映像を楽しむ
|
ツールメニューを表示して、「映像切換」を選ぶ
※ 番組によって映像の数は異なります。 |
複数の音声を切り換える
|
音声を切り換える
|
- マルチ音声番組を受信したときは、前回の選択にかかわらず、「音声1」が選択されます。
- 二重音声番組を受信したときは、前回選択されていた音声が選択されます。
- 二重音声やマルチ音声(ステレオ二重音声)のときの言語表記は、放送からの情報による表示であり、必ずしも表記どおりでないことがあります。
字幕を表示する/複数の字幕を切り換える
|
1 |
字幕メニューを表示する
|
|
2 |
◆字幕の表示方式を変えたいとき ①「表示方式」を選ぶ
②表示させたい字幕の種類を選ぶ
|
|
2 |
◆字幕の表示言語を変えたいとき ①「表示言語」を選ぶ
②表示させたい言語を選ぶ
|
|
「表示方式」の設定について
- 「アウトスクリーン字幕上」または「アウトスクリーン字幕下」に設定している場合は、字幕放送でない番組に放送局から字幕情報が送られてくると、自動的に映像が縮小される場合があります。
表示しない(工場出荷時の設定)
- 字幕放送でも、字幕を表示しません。

オンスクリーン
- 字幕放送では、映像に重なって字幕が表示されます。
- 下記は表示例ですので、放送によっては上下の位置が異なります。

アウトスクリーン字幕上
- 字幕放送では、自動的に映像が縮小され、映像の上側に字幕が表示されます。
- 放送によっては、字幕が映像と重なることがあります。

アウトスクリーン字幕下
- 字幕放送では、自動的に映像が縮小され、映像の下側に字幕が表示されます。
- 放送によっては、字幕が映像と重なることがあります。

番組の詳細を知りたいときは
- デジタル放送の番組視聴中に、番組情報が表示できます。
番組情報の画面例

|
1 |
番組情報の画面を表示する
|
放送の種類やチャンネルなどの情報を確認する
- 放送の種類やチャンネルなどの情報はテレビ画面のチャンネルサインで確認できます。
|
1 |
[画面表示]ボタンを押してチャンネルサインを表示する
|
|
2 |
繰り返し[画面表示]ボタンを押し、表示のしかたを選ぶ |
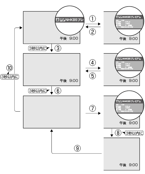
チャンネルサインの表示の切り換わりについて(時刻表示の設定が「する」の場合)

※ 時刻表示の設定が「しない」の場合は、①、②、⑥、⑦、⑨、⑩の順番になります。
|
① |
[画面表示]ボタンでチャンネルサインが大きく表示されます。 |
|
② |
[画面表示]ボタンを押すと元の画面に戻ります。(3秒以上経過しても、元の画面に戻ります。) |
|
③ |
②で[画面表示]ボタンで元の画面に戻った場合は、[画面表示]ボタンを押すとチャンネルサインが消え、時計表示だけが残ります。 |
|
④ |
[画面表示]ボタンでチャンネルサインが表示されます。 |
|
⑤ |
[画面表示]ボタンを押すと元の画面に戻ります。(3秒以上経過しても、元の画面に戻ります。) |
|
⑥ |
⑤で[画面表示]ボタンで元の画面に戻った場合は、[画面表示]ボタンを押すと何も表示されなくなります。 |
|
⑦ |
[画面表示]ボタンでチャンネルサインと時計が表示されます。 |
|
⑧ |
そのまま3秒以上経過すると元の画面に戻りますが、[画面表示]ボタンを押すとチャンネルサインが消え、時計表示だけが残ります。 |
|
⑨ |
[画面表示]ボタンを押すと元の画面に戻ります。(3秒以上経過しても、元の画面に戻ります。) |
|
⑩ |
⑨で[画面表示]ボタンで元の画面に戻ってから[画面表示]ボタンを押すと、チャンネルサインと時計が表示されます。 |
データ放送で天気予報や株価などの情報を見る
- データ放送には、テレビ放送に連動した「連動データ放送」と、データ放送専門の「独立データ放送」があります。
- データ放送は放送局側で制作したメニュー画面により操作が異なります。データ放送画面を表示したら、画面の表示に従って操作してください。例えば、カーソルボタン(上・下・左・右)で画面の項目を選んで決定したり、カラーボタン(青・赤・緑・黄)で対応する項目を選んだりして操作します。
連動データ放送を表示する
|
連動データ放送を含む番組の視聴中に、連動データ放送の画面を表示する (例)
|
- 電源を入れた直後やチャンネルを切り換えた直後は、[データ連動]ボタンを押しても連動データ放送画面が表示されないことがあります。この場合は、約20秒待ってからもう一度[データ連動]ボタンを押してください。(表示されるまでの時間は、放送内容によって異なります。)
- BSラジオ放送も、「独立データ放送の番組から選ぶ」の手順で切り換えられます。
独立データ放送の番組から選ぶ
|
1 |
BSデジタル放送を選ぶ
|
|
2 |
ツールメニューを表示する |
|
3 |
「テレビ/ラジオ/データ」を選ぶ
|
|
4 |
天気予報や株価のチャンネルを選ぶ |























